★
Fast delivery to all major marinas in Turkey (Marmaris, Bodrum, Göcek, Çeşme, İstanbul)
0
cart items
₺
₺ Turkish Lira
£ Pound Sterling
$ Dollar
€ Euro
EN
Türkçe (TR)
English (US)
welcome
welcome
Boat and Yacht Supplies
Maintenance - Paint - Chemical
Sikaflex
Maintenance Chemicals
Epoxy - Fiber Repair
Brush - Roller
Insulation and Maintenance Tapes
Adhesive - Insulation
Anti-Slip Paint - Tape
Osmosis Treatment - Protection
Cleaning Chemicals
Cleaning Supplies
Teak Care
Varnish
Oil - Grease
Toxic Paint
Bilge Paint
Silicone
Paint Systems
Aquarius
Dehumidifier
Pasta Polish
Soap Shampoo
Water Additives
Engine Oil
Engine Paint
Engine Additives
Paper Coveralls
Mooring-Mooring
Father - Ram's Horn - Wolf's Mouth
Head Roller
Movable Reel
Fixed Spool
Anchor
Admiralti Anchors
Galvanized Bruce Anchors
Chrome Danfort Anchors
Chrome Delta Anchors
Galvanized Swivel Anchors
Force Anchors
Fortress Anchors
Hall Type Anchors
Galvanized Umbrella Anchors
Ultra Anchors
Plow Anchors
Trefoil Anchors
Vault Anchors
Marine Chrome Anchors
Galvanized Yacht Anchors
Steel Casting Ship Anchors
Storm Anchor
Boat and Jet ski Anchors
Anchor Accessories
Rope
Scaffolding Ropes
Parekete Rope
Anchor Lanyard Radial
Floating (Unsinkable) Rope Series 8 Arms
Sinking Ropes
Polyester Rope 3 Strand Series
Rubber Ropes
Steel Wire Ropes
Insulated Steel Wire Ropes
Copper Steel Wire Rope Binding Rings
Special Ropes
Coil
Elastic Rope
General Use Lanyard
Mooring Rope
Rope Router
Scaffolding Rope Stretcher
Aluminum Steel Wire Rope Binding Rings
Rope Cutting Blades
Rope Accessories
Dock Equipment
Irgat
For 9-12 mt boats
Windlass Equipment
Windlass Buttons
Chain Stopper
Windlass Insurance
Solenoid
Windlass Motors
Windlass Arms
Irgat Kavelatas
Wireless Chain Counters
Windlass Chain Braided Rope
Marin Windlasses
Kakic
Carabiner - Switchblade Lock
Carabiner with Chrome Ring
Chrome Carabiner
Chrome Swivel Carabiner
Pelican Locks
Swivel Hooks
Carabiner with Chrome Nut
Switchblade Carabiners
Spring Carabiners
Chrome Carabiner with Map
Chrome Safety Carabiners
Aluminum Carabiners
Galvanized Carabiner
Mapa - Bridge
Twist Locks
Ski Maps
Buoy
Fender and Equipment
Front Rear Fenders
Balloon Fender
Sausage Usturmcha
Inflatable Fenders
Majoni Fender
Stair Fender
Nose Fender
Flat Fender
Step Fender
Scaffolding Fender
Fender Holders
Fender Mooring Ropes
Fender Slot
Fender Cleaner and Care
Fender Repair Kit
Fender Sheaths
Marine Chain and Chain Equipment
Chain
Chain Equipment
Chain Locks
Trailers and Accessories
Trailer Cranes
Trailer Accessories
Stainless Materials
Electricity
Switches and Switches
DC Switches
Ac Switches Sockets
Control Switches
Switch
Switch Panels
Horn Buttons
Battery
Lead Acid Batteries
Silver Marin Batteries
Gel Batteries
Lithium Batteries
Agm Batteries
Battery Equipment
Battery Chargers
Battery Charge Meter
DC-Dc Battery Filling Devices
Battery Boxes
Victron Battery Monitoring and Control Devices
Polar Heads
Battery Switches
Battery Fixing and Boxes
Insulators
Battery Equipment and Accessories
Marin Cables
Battery Cables
Marin Flat Cables
Marin Round Cables
Coast Supply Cable
Solar Panel Cables
M. Cable and Accessories
Lighter Equipment
Usb Plugs Sockets Outlets
Interior Lighting
Flush Mount
Surface Mount
Reading Lamps
Ceiling Lighting
Bedside Lamp
General Lighting
Stair-Step Lighting
Ampoule
Interior Lighting Spare Parts
Ampoule
Outdoor Lighting
Projector
Projector Controls
Automatic Projectors
Manual Projectors
Projector Bulbs
Plug - Socket
Waterproof Plugs and Sockets
Galvanic Isolator
Insurance Systems
Automatic & Manual Fuses
Knife Fuses
Insurance Blocks
Fuse Panel' AC/DC
Insurance Slots
Switch
Circuit Breaker Fuse
Terminals and Accessories
Dimmer Lighting Controller
Chassis Barrels (Terminals)
Cable and Equipment
Cable Outputs
Cable Lugs
Cable Muffs
Round Cable Ends
Needle Type Cable Ends
Reversible Terminal
Male Terminals
Female Terminals
Male Faston Inserts
Female Faston Inserts
Intermediate Splice Terminals
Adhesive Hooks
Screwed Crochet
Cable Tie
Tools and Equipment
Ignition Switch
Cigarette Lighter Lamps
Deck Lighting
Georgia Lighting
Inverter - Converter
Full Sine Inverters
Inverters
Rectifiers
Inverter-Rectifier
Converters
DC-DC
AC-DC
DC-DC CONVERTER CHARGER
Isolator Chargers
Chargers
Battery Isolation Relay
Bluetooth Devices
Rectifier - Battery Charger
Wind - Solar Energy
Solar Panels
ElektroZirve
Control Panels
Solar Energy Spare Parts Accessories
Connectors
Mounting Kits
Wind Generator
Coastal Feeding - Coastal Connection
Plug Sockets
Wired Sets
Navigation Lighthouse
Chief Starboard / Pier Lighthouse
Anchor Lighthouse
6-10 mt. For boats
For 6-12 mt boats
For 8-12 mt. boats
10-16 mt. For boats
For boats up to 12m
12-20 mt. For boats
For boats up to 20m
20-50 Mt. For Ships
For boats up to 50m
Overhead Lamps
Silyon Lighthouse
Stern Light
Replacement Bulb / Accessory
Bow Lighthouse
Battery Powered Navigation Light
Wiper
Underwater Lighting
For 10-16 mt boats
M. Underwater Lighting and Accessories
Generator
Motor Cables Protector
Regulators and Equipments
Alternator Parts
Electrical Accessories
Compressor System
Deck
Washing Pumps
Accessories
Stickers
Cup Holder
Flag and Flagpole
Turkish Flag
Foreign Flags
GAM flags
Towing Hooks
Filling Spout
Deck Coating
Deck Cover
Door Locks
Cane Slot
Cover Locks
Handle / Grip / Clip / Hanger
Mapa Bridge
Mapalar
Bridges
Rings
D Rings
Triangle Rings
Armchair - Table - Chair
Handrail Roving
Handrail Wicks
Handrail Fittings
Livar Pump
Grill and Accessories
Staircase
Mataforas
Roll Bar Systems
Pasarella
Plastic Cover - Cabinet - Nest
Shower and Accessories
Drain Pipe - Escape - Bastard
Connection Sleeves
Strainers
Connection Sleeves with Strainer
Cutters
Water Escapes
Expanding Plug
Drain Pipe
Water drain
Awning and Equipments
Aluminum Awnings
Chrome Awnings
Plastic Awnings
Awning Parts
Awning Snaps
Awning Belt Anchors
Transom Arm - Shock Absorber
Gas Shock Absorbers
Amartic converter fittings
Hook
Shovel / Scallop
Umbrella
Vardavela and Awning Parts
Stainless Material
Indicator
Voltmeter
Ammeter
Water Indicators
Waste Water Indicators
Alarm Indicator Set
Gray Water Indicator
Rudder Angle Indicators
Depth Indicator
Wind Indicator
Thermometer / Hygrometer / Barometer / Clock
Clinometer - Yawameter
Multifunction Indicator
Security
Can Tuesday
Lifebuoy
GAM Lifebuoy lighted buoy
Decor Lifeline
Adult Life Jacket
Child Life Jacket
Life Jacket Light
Net Lamp Cigarette Lighter Buoys
First Aid Kit
Life Saving Equipment
Marker Buoy
Books
Whistles
Horn
Megaphone
Rescue Equipment
Radar Reflector
Navigation Equipment
GAM warning products
Fire Blanket
Fire Extinguishers and Equipment
Automatic Fire Extinguishing Systems
Fire Alarms and Detectors
Gas Detectors
Methane Gas Detectors
Carbon Monoxide Detectors
Gasoline Detectors
Smoke Detectors
Extreme safety equipment
Staircase
Emergency Equipment
Clean (Fresh) Water Systems
Clean Water Tanks
Flexible Water Tanks
Inflatable Water Tanks
Plastic Water Tanks
Chrome Water Tanks
Plastic Waste Water Tanks
Plastic Gray Water Tanks
Tank Records
Fresh Water Filter
Boiler
Shower and Accessories
Booster
Seaflo
Seaflo Tank Boosters
Pressure Tanks
Booster Booster Parts, Fittings, Hose, etc.
Water inlet and outlet
Clamp
Valves
Water Submersible Pumps
Hose and Fittings
Hose
Te Connection
Hose Records
Reductions
Hose Adapter
Hose Attachments
Ye Connection
Intermediate Transfer Pumps
Faucet
Check Valves
Water Maker
Water Indicators
Clean Water Transportation Bins
Fuel and Water Floats
Sewage Floats (33-240 ohms)
Clean Water Fuel Floats (0-190 ohms)
Chrome Flanges for Floats
Float resistance changer
Ventilation
Blower
Flat Blower
Blower Hoses
Hatch
Aluminum Hatchler
Chrome Hatchler
Plastic Hatchler
Fly Screen and Hatch Accessories
Stainless Steel Hatchler
Lumbosis
Plastic Portholes
Chrome Portholes
Aluminum Portholes
Stainless Steel Portholes
Spare Parts for Hatches and Portholes
Sunshade and Fly Screen
Ventilation Cover
Klima
Air Conditioners
Air Conditioner Spare Parts
Culverts
Manika
Solar Ventilation
Ventilator
Wind Arresters
Heating Systems
Diesel Heaters
Heating Systems Fittings
Navigation
Compass
Navigation Equipment
Rudder - Control
Head Propeller
Head Propeller Systems
Head Propeller Tunnels
Head Propeller Motors
Head Propeller Solenoids
Bow Thruster Control Panels
Head Propeller Gearboxes
Head Propeller Extension Cables
Head Propeller Fuses
Head Propeller Tutyas
Head Propeller Impellers
Head Propeller Remote Control
Connection and Assembly
Steering Wheel
Mounting Spirals
Steering Wheel Wire
Rudder Hub
Bezel
Throttle - Gear Control Lever
Ultraflex
Parts for double station
Hydraulic Rudder System
Marine Hydraulic Steering Systems and Accessories
Hydraulic Pump
Lock Valve
Yeke
Cable Bellows
Collar Arm
Marin Rudder Control
Control Cables
Cabinet / Kitchen Equipment
Service Utensils
Cup Holder
Sink & Washbasin
Cutting Boards
Refrigerators
Ice Makers
Freezers
Stove & Oven
Grills
Ashtray
Bed linen
Mat
Wine Cabinet
Stopper
Door Locks
Interior Lighting
Flush Mount
Surface Mount
Reading Lamps
Ceiling Lighting
Bedside Lamp
General Lighting
Stair-Step Lighting
Ampoule
Interior Lighting Spare Parts
Kitchen Utensils
Sunshade and Fly Screen
Armchair - Table - Chair
Shower and Accessories
Drain Pipe - Escape - Bastard
Connection Sleeves
Strainers
Connection Sleeves with Strainer
Cutters
Water Escapes
Expanding Plug
Drain Pipe
Water drain
WC - Sewage - Toilet
Waste Water Indicators
Shower Drain System
Shower - Wc Drain Pumps
Deck Exit Mouth
Hose
Odor Filter
Macerator - Sewage Pump
Buoy
Tank
Toilet
Portable Boat Caravan Toilets
Manual Large Stone Toilets
Silent Electric Toilets
Toilet Chemicals
Toilet Parts and Repair Kit
Toilet Bidet Faucets
Toilet Motors
Manual Toilet Pumps
Electric Motorized Toilet Pumps
Toilet Water Pumps
Manual Toilet Repair Kits
Electric Toilet Repair Kits
Toilet Solenoid Valves
Toilet Lids
Toilet Valves
Toilet Switches
Valve
Three-Way valves
Two Way Valves
Chrome Valves
Yellow Brass Valves
Electric Valve Systems
Check Valves
Safety Valves Siphons
Bilge
Manual Bilge Pump
Electric Bilge Pump
Expanding Plugs
Bilge Outlets
Plastic Flat
Plastic Elbow
Chrome Flat
Chrome Bracket
Transition Connections
Chrome Flanged Flat
Chrome Flanged Elbow
Connection Sleeves
Water Drain Outlets
Chrome Flanged Water Drain Outlets
Plastic Water Drain Outlets
Bilge Alarm
Automatic Electric Bilge Pumps
Hose - Filter - Strainer
Bilge Floater
Bilge Pump Switch
Plastic Materials for Bilge
Hardware
Fittings Materials
Connectors
Siphons
Valves
Non-stick Valves
Water Outlets
Chrome Connection Sleeves
Clamp
Heavy Duty Hose Clamps
Chrome Hose Clamps
Locks and Safety Products
Hinge
Tutya
Electrolysis Anode
Screw - Bolt - Nut
Bolts
Metric Chrome Screws
Nut
Segman
Stamp
Rivet
Kopilya
Gijon
Setiskur
Imbus
Smart Screw
Hand Tools
Transport Trolley
Impeller
Gifts
Tutya
Gyro Stabilizer
Books
Sailing Materials
Rigging - Mast Hardware
Liftins
Norsemen
Terminals
Connection and Assembly
Single Sheet Terminal Block
Chrome Radansa
Male Eye Bolt
Female Eye Nut
Mooring-Mooring
Father - Ram's Horn - Wolf's Mouth
Head Roller
Movable Reel
Fixed Spool
Anchor
Admiralti Anchors
Galvanized Bruce Anchors
Chrome Danfort Anchors
Chrome Delta Anchors
Galvanized Swivel Anchors
Force Anchors
Fortress Anchors
Hall Type Anchors
Galvanized Umbrella Anchors
Ultra Anchors
Plow Anchors
Trefoil Anchors
Vault Anchors
Marine Chrome Anchors
Galvanized Yacht Anchors
Steel Casting Ship Anchors
Storm Anchor
Boat and Jet ski Anchors
Anchor Accessories
Rope
Scaffolding Ropes
Parekete Rope
Anchor Lanyard Radial
Floating (Unsinkable) Rope Series 8 Arms
Sinking Ropes
Polyester Rope 3 Strand Series
Rubber Ropes
Steel Wire Ropes
Insulated Steel Wire Ropes
Copper Steel Wire Rope Binding Rings
Special Ropes
Coil
Elastic Rope
General Use Lanyard
Mooring Rope
Rope Router
Scaffolding Rope Stretcher
Aluminum Steel Wire Rope Binding Rings
Rope Cutting Blades
Rope Accessories
Dock Equipment
Irgat
For 9-12 mt boats
Windlass Equipment
Windlass Buttons
Chain Stopper
Windlass Insurance
Solenoid
Windlass Motors
Windlass Arms
Irgat Kavelatas
Wireless Chain Counters
Windlass Chain Braided Rope
Marin Windlasses
Kakic
Carabiner - Switchblade Lock
Carabiner with Chrome Ring
Chrome Carabiner
Chrome Swivel Carabiner
Pelican Locks
Swivel Hooks
Carabiner with Chrome Nut
Switchblade Carabiners
Spring Carabiners
Chrome Carabiner with Map
Chrome Safety Carabiners
Aluminum Carabiners
Galvanized Carabiner
Mapa - Bridge
Twist Locks
Ski Maps
Buoy
Fender and Equipment
Front Rear Fenders
Balloon Fender
Sausage Usturmcha
Inflatable Fenders
Majoni Fender
Stair Fender
Nose Fender
Flat Fender
Step Fender
Scaffolding Fender
Fender Holders
Fender Mooring Ropes
Fender Slot
Fender Cleaner and Care
Fender Repair Kit
Fender Sheaths
Marine Chain and Chain Equipment
Chain
Chain Equipment
Chain Locks
Trailers and Accessories
Trailer Cranes
Trailer Accessories
Stainless Materials
Flock Lock
Cem Lock and Pinch
Rudder Hardware
Deck Equipment
Security
Lock
Reel
Optimist
Wind Arresters
Sporty Sailboat
Crane Handles
Sail Winding Systems
Sail Repair
Sailing Clothes
Floating Platforms
Maintenance - Paint - Chemical
Sikaflex
Maintenance Chemicals
Epoxy - Fiber Repair
Brush - Roller
Insulation and Maintenance Tapes
Adhesive - Insulation
Anti-Slip Paint - Tape
Osmosis Treatment - Protection
Cleaning Chemicals
Cleaning Supplies
Teak Care
Varnish
Oil - Grease
Toxic Paint
Bilge Paint
Silicone
Paint Systems
Aquarius
Dehumidifier
Pasta Polish
Soap Shampoo
Water Additives
Engine Oil
Engine Paint
Engine Additives
Paper Coveralls
Inflatable Boat
Folding Inflatables with Wooden Bottom
Folding Inflatables with Aluminum Bottom
Folding Inflatables with Grid Bottom
Folding Boots with Inflatable Bottom
Fiber Bottom Inflatable Boots
Inflatable Boat Accessories Spare Parts
Shovel / Scallop
Air Inflator Pumps
Boat Ladders
T-Top
Inflatable Boat Repair Kit
Steering Wheel Boat
Marine Engine
Outboard Engine Spare Parts Accessories
Yamaha Original Spare Parts
Yamaha Outboard Engine Impellers
Mercury Outboard Engine Impellers
Boat Stabilizer Motor Wing
Tohatsu Outboard Engine Impellers
Suzuki Outboard Motor Impellers
Honda Outboard Engine Impellers
Engine Washing Apparatus
Engine Hanger Brackets
Motor Arm Extension
Fuel (Gasoline) Transportation Drums
Gasoline Tanks
Transmission Oils
Engine Oils
Oil Filters
Spark Plugs
Engine Mirrors
Engine Locks
Engine Additives
Tank Additives
Propellers
Propeller Guards
Operating Lanyard
Engine Covers
Indicator
Turnover Indicators
Engine Time Clocks
Overheat Indicators
Oil pressure gauges
Fuel Gauges
Müşirler
Speed Indicators
Speed Pitots
Trim Indicators
Fuel System
Ventilation
Air Escape
Tank Ventilation
Fuel Filters
Fuel Hoses
Transport Drums
Fuel Tanks
Plastic Fuel Tanks
Chrome Fuel Tanks
Fuel Tank Fittings
Tank Covers
General Purpose Tanks (Water and Fuel)
Portable Tanks
Fuel and Water Floats
Sewage Floats (33-240 ohms)
Clean Water Fuel Floats (0-190 ohms)
Chrome Flanges for Floats
Float resistance changer
Odor Filter
Gasoline Connector
Gasoline Connector with Zipper Hose
Funnel / Shovel
Puar
Valve
Engine Additives
Gasoline Outboards
Electric Outboard Motors
Minn Kota
Engine
Accessory
Virtual Anchors
Drive Electric Motors
Electric Motor Accessories and Spare Parts
Diesel Engines
Diesel Engines
Diesel Engine Parts
Sea Water Pumps
Sea Water Filter
Seawater Filter Strainers
Exhaust System
Exhaust Outlets
Filtered Water Inlet
General Purpose Pumps
Sound Insulation Material
Cooling Pump
JABSCO Impeller
Oil - Diesel Pump
Oil Drain Pump
Fuel Transfer Pumps
Shaft System and Materials
Shaft Sleeves
Shaft Bellows
GAM Shaft
Transmission Tires
Condensate Bellows
Inboard Engine Spare Parts Accessories
Flap System
Single Piston Hydraulic Flaps
Double Piston Hydraulic Flaps
Flap Accessories Spare Parts
Electric Flaps
Trim Tab Set
Motor Transport Carts
Coupling
Engine Mounting
Engine Components
Electronic Accessories
Solar Energy Systems
Engine Oil
Electric Inboard Motors
Electronics
Antenna & Bracket
TV Antenna
Radio Antenna
VHF Radio Antenna
Satellite
GPS
Radar Antenna
Wifi Antenna
AIS Antenna
Brackets & Other Materials
Scanpods
Anti-Parasite
Fish Finder
Fish Finder Accessories Spare Parts
Walkie-talkies
Radio Antennas
Radio Speaker
Music System
Radio Tape Cd Mp3 Mp4 Player
Accessories and Spare Parts
Marin Speakers
GPS - Radar
Camera
Dynaplate
Auto Pilot
Victron Energy
Batteries and Accessories
AGM Battery
Gel Battery
Lithium Battery
Battery Monitoring Monitors
Battery Combiners
Battery Protection and Accessories
DC Distribution Systems & Fuses
Baralar
Insurances
Mega
Midi
Anl
Cnn
Inverter
Inverter Ve.Direct
Inverter
Inverter Compact
Inverter Smart
Rectifier
Skylla-i
Skylla-tg
Centaur
Skylla IP65
Smart IP43
Blue Smart
IP22
IP65
IP67
Phoenix
Boiler Inverter/Rectifier
Multiplus
Multiplus C
Multiplus-ll
Quattro
Quattro-ll
Panel and System Monitoring
DC/DC Converter
Orion XS
Orion-Tr Insulated
Orion-Tr Non-isolated
Orion-Tr Smart Insulated
Orion-Tr Smart Non-Insulated
Orion-Tr Non-isolated High Power
Orion Non-Insulated Special Model
Orion IP67
Buck-Boost
Isolator
Argo Diode
Argo Fet
Isolation Transformers
MPPT Charge Regulator
Cable/Accessories
Ve.direct
RJ45 (Ve.Can-Ve.Bus)
Male to Female (LiFePO4)
Water Sports
Sup Board
Canoe Water Ski Accessories
Shovels
Fishing
Electric Downrigger
Manuel Downrigger
Downrigger Accessory
Fish Finder
Fish Finder Accessories Spare Parts
Lead
Outrigger
Other Products
Kakic
Banana / Banana
Kneeboard
Wakeboard
Ringo
Wakeskate
Water Skiing
Boat
Sea Scooters
Canoes
Pedal Canoes
Fishing Canoes
Adult Canoes
Double Adult Canoes
Closed Canoes
Canoe Accessories
Polyethylene Canoes
Inflatable Canoes
Flashlights
Diving Equipment
Rafting
Inflatable Sea Equipment
Outdoor
Thermal Heat-proof Bag
Waterproof Case & Bag
Shower trays
Binoculars & Telescope
Keychains
Pocket Knives
Clothing
Sailor Masks
Shirt
Kazak
Sweat Shirt / T-shirt
Mont
Jumpsuit / Salopet
Pants / Shorts
Tie
Glove
Hat
Shoes / Boots / Slippers
Sailing Clothes
Beach Products
Support
Frequently Asked Questions
Customer Service
Your Shopping Cart
Wire Transfer / EFT
Payment & Installment Options Credit Card
Installment Credit Cards
Credit Card Provisioning Glitches
What is it and how to use it
Boat and Yacht Supplies
Boat and Yacht Supplies
View all
Impeller
Gifts
Tutya
Gyro Stabilizer
Books
Floating Platforms
Maintenance - Paint - Chemical
Sikaflex
Maintenance Chemicals
Epoxy - Fiber Repair
Brush - Roller
Insulation and Maintenance Tapes
Adhesive - Insulation
Anti-Slip Paint - Tape
Osmosis Treatment - Protection
View all
Mooring-Mooring
Father - Ram's Horn - Wolf's Mouth
Head Roller
Anchor
Rope
Dock Equipment
Irgat
Kakic
Carabiner - Switchblade Lock
View all
Electricity
Switches and Switches
Horn Buttons
Battery
Battery Equipment
Marin Cables
Lighter Equipment
Usb Plugs Sockets Outlets
Interior Lighting
View all
Deck
Washing Pumps
Accessories
Stickers
Cup Holder
Flag and Flagpole
Towing Hooks
Filling Spout
Deck Coating
View all
Indicator
Voltmeter
Ammeter
Water Indicators
Waste Water Indicators
Alarm Indicator Set
Gray Water Indicator
Rudder Angle Indicators
Depth Indicator
View all
Others
Security
Clean (Fresh) Water Systems
Fuel and Water Floats
Ventilation
Heating Systems
Navigation
Rudder - Control
Cabinet / Kitchen Equipment
WC - Sewage - Toilet
Bilge
Hardware
Sailing Materials
Maintenance - Paint - Chemical
Maintenance - Paint - Chemical
View all
Sikaflex
Maintenance Chemicals
Epoxy - Fiber Repair
Brush - Roller
Insulation and Maintenance Tapes
Adhesive - Insulation
Anti-Slip Paint - Tape
Osmosis Treatment - Protection
Cleaning Chemicals
Cleaning Supplies
Teak Care
Varnish
Oil - Grease
Toxic Paint
Bilge Paint
Silicone
Paint Systems
Aquarius
Dehumidifier
Pasta Polish
Soap Shampoo
Water Additives
Engine Oil
Engine Paint
Engine Additives
Paper Coveralls
Inflatable Boat
Inflatable Boat
View all
Folding Inflatables with Wooden Bottom
Folding Inflatables with Aluminum Bottom
Folding Inflatables with Grid Bottom
Folding Boots with Inflatable Bottom
Fiber Bottom Inflatable Boots
Steering Wheel Boat
Inflatable Boat Accessories Spare Parts
Shovel / Scallop
Air Inflator Pumps
Boat Ladders
T-Top
Inflatable Boat Repair Kit
Marine Engine
Marine Engine
View all
Gasoline Outboards
Inboard Engine Spare Parts Accessories
Motor Transport Carts
Coupling
Engine Mounting
Engine Components
Engine Oil
Electric Inboard Motors
Outboard Engine Spare Parts Accessories
Yamaha Original Spare Parts
Yamaha Outboard Engine Impellers
Mercury Outboard Engine Impellers
Boat Stabilizer Motor Wing
Tohatsu Outboard Engine Impellers
Suzuki Outboard Motor Impellers
Honda Outboard Engine Impellers
Engine Washing Apparatus
View all
Indicator
Turnover Indicators
Engine Time Clocks
Overheat Indicators
Oil pressure gauges
Fuel Gauges
Müşirler
Speed Indicators
Speed Pitots
View all
Fuel System
Ventilation
Fuel Filters
Fuel Hoses
Transport Drums
Fuel Tanks
Fuel and Water Floats
Odor Filter
Gasoline Connector
View all
Electric Outboard Motors
Minn Kota
Virtual Anchors
Drive Electric Motors
Electric Motor Accessories and Spare Parts
Diesel Engines
Diesel Engines
Diesel Engine Parts
Others
Flap System
Electronic Accessories
Electronics
Electronics
View all
Fish Finder
Fish Finder Accessories Spare Parts
GPS - Radar
Camera
Dynaplate
Auto Pilot
Antenna & Bracket
TV Antenna
Radio Antenna
VHF Radio Antenna
Satellite
GPS
Radar Antenna
Wifi Antenna
AIS Antenna
View all
Walkie-talkies
Radio Antennas
Radio Speaker
Music System
Radio Tape Cd Mp3 Mp4 Player
Accessories and Spare Parts
Marin Speakers
Victron Energy
Batteries and Accessories
DC Distribution Systems & Fuses
Inverter
Rectifier
Boiler Inverter/Rectifier
Panel and System Monitoring
DC/DC Converter
Isolator
View all
Water Sports
Water Sports
View all
Sup Board
Canoe Water Ski Accessories
Shovels
Banana / Banana
Kneeboard
Wakeboard
Ringo
Wakeskate
Water Skiing
Boat
Sea Scooters
Flashlights
Diving Equipment
Rafting
Inflatable Sea Equipment
Fishing
Electric Downrigger
Manuel Downrigger
Downrigger Accessory
Fish Finder
Fish Finder Accessories Spare Parts
Lead
Outrigger
Other Products
View all
Canoes
Pedal Canoes
Fishing Canoes
Adult Canoes
Double Adult Canoes
Closed Canoes
Canoe Accessories
Polyethylene Canoes
Inflatable Canoes
Outdoor
Outdoor
View all
Thermal Heat-proof Bag
Waterproof Case & Bag
Shower trays
Binoculars & Telescope
Keychains
Pocket Knives
Clothing
Clothing
View all
Sailor Masks
Shirt
Kazak
Sweat Shirt / T-shirt
Mont
Jumpsuit / Salopet
Pants / Shorts
Tie
Glove
Hat
Shoes / Boots / Slippers
Sailing Clothes
Beach Products
Home
Boat and Yacht Supplies
Mooring-Mooring
Father - Ram's Horn - Wolf's Mouth
EN
Türkçe (TR)
English (US)
Would you like to save this language as your default preference?
Yes
No
Don't ask again
973189181
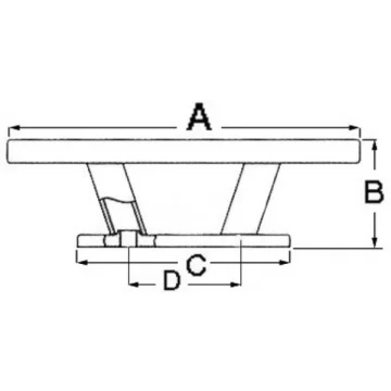
Koç boynuzu. Model Nordik.
A (mm): 310
B (mm): 80
C (mm): 160
D (mm): 83
E (mm): 50
Cıvata Ø (mm): M16
₺3.906,21
Bank Transfer / EFT
(Save 6%)
₺3.671,84
(0.0/5)
Add to Cart
Contact us
Installments are available only in Turkish Lira.
Contents
Payment Options
Reviews
A (mm): 310
B (mm): 80
C (mm): 160
D (mm): 83
E (mm): 50
Cıvata Ø (mm): M16
Koç boynuzu. Model Nordik.
Koç boynuzu. 310 mm. AISI 316 paslanmaz çelik.
Tabandan 2 cıvatayla montaj.
...
...
Contact us
Please enter with country code such as +90.
✓
Added to cart
Product added to cart.
View cart
Kabul Et
Tercihleri Özelleştir