MANSHİP Oval ekonomik lumboz. Gri akrilik cam, çerçeve ve menteşeler 316 paslanmaz çeliktir. Uygulanabilir yüzey
kalınlığı max: 60 mm, görünmeyen yüzeylerin paslanmazlığını sağlamak amacıyla
electro polisaj yapılmıştır. Dayanıklı PVC contası vardır.
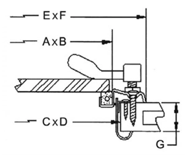
Montaj Boyutu CxD:213x467 mm
Dıştan Dışa Boyut ExF:276x530 mm
Model AxB:203x457 mm
...
...