Out of stock
Ghost II recessed cleat

The Ghost II recessed cleat is designed for top mounting and features a waterproof construction. It stands out with its ergonomic lifting handle and the fluorinated rubber O-ring used for smooth sliding.

The product is ENAVE approved, in compliance with the ISO 15084:2003 standard.

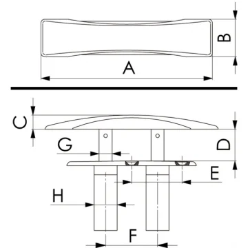
Dimensions and technical data:

  • A (mm): 240
  • B (mm): 52
  • C (mm): 20
  • D (mm): 44
  • E (mm): 70
  • F (mm): 72
  • G (mm): 32
  • H (mm): 18
  • Working load (kg): 2050
Stock Code : 3049813448

Ghost II recessed cleat

The Ghost II recessed cleat is a top-mounted, waterproof cleat with an ergonomic lifting handle.
Price
₺19.394,34
Bank Transfer / EFT %6 bank transfer / eft discount
₺18.230,68
Installment payment is only available for Turkish Lira.
Free Shipping
Be the first to favorite
Share
Technical Details
Features
Product Type
Customer Feedback
Latest Comments
You can be the first to review this product.
No reviews yet
You can help by writing the first review other visitors about this product.
Added to cart
Product added to cart.
View cart